Kits isolants type AA4 standard PN 10-16-25-40
Le kit isolant type AA4 standard PN 10, 16, 25, 40 est composé :
- Un joint central isolant en toile bakélisée épaisseur 3mm (épaisseur 6mm à partir du DN 1200) ;
- Deux joints d’étanchéité en KLINGERSIL® C-4324 ep 1.5 ;
- De tubes isolants en papier bakélisé ;
- Rondelles isolantes périphériques en toile bakélisée épaisseur 6mm (4mm jusqu’au DN 125) ;
- Boulonnerie acier zingué CI.8.8 ou inox (A2 ou A4) sur demande.

Au niveau de joint central en toile bakélisée :
- Rupture à la compression 24 daN/mm2 ;
- Rigidité diélectrique 5 KV ;
- Résistance d’isolement 10/6 ohm
Au niveau des tubes isolants en papier bakélisé :
- Rigidité diélectrique 8.3 KV/mm
La température limite d’utilisation des kits isolants type AA4 standard est de 80°C et tension d’isolement moyenne 2.5 KV.
- Joint central : Normes DIN HGW2082 et DIN 7735 ;
- Deux joints d’étanchéité en KLINGERSIL® C-4324 ep 1.5 mm ;
- Les tubes isolants : Norme DIN HP2065 .

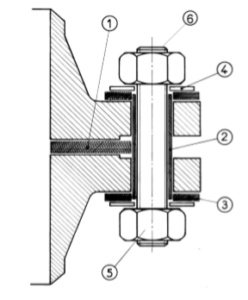
1 – Le joint central isolant en toile bakélisée + 2 joints d’étanchéité en KLINGERSIL® C-4324
2 – Tubes isolants en papier bakélisé
3 – Rondelles isolantes périphériques en toile bakélisée ep 6mm (4mm jusqu’au DN 125) ;
4-5-6 – Boulonnerie acier zingué CI.8.8 ou inox (A2 ou A4) sur demande.
